Comhla Seiceála Ingearach PPH H41F-10S DN15-300 1/2"-12" Caighdeán ANSI

Comhla Seiceála Liathróid Beige PPH Ardchaighdeáin Comhla Seiceála Ingearach Roth láimhe Plaisteacha Aontreo do Dhraenáil agus Tionscal Ceimiceach Caighdeán ANSI
Bunús: An tSín
Branda: KXPV
Muna: H41F-10S
Iarratas: Ginearálta
Ábhar: Plaisteach
Dath: beige
Teocht Meán: Meánach, Comhthimpeallach
Brú: Brú Meánach
Soláthar Cumhachta: Lámhleabhar
Meánach: Aigéad
Méid an Phoirt: DN15–DN300
Struchtúr: Comhla Seiceála
Ainm Táirge: Comhla Seiceála Ingearach
Ceangal: Flaged End
Brú Aicme: 1.0Mpa (10bar)
Oibríocht: roth láimhe
Ábhar Comhlacht: Plaisteach
Am Seachadta: 7 Lá
Cainníocht Ordú Íosta: 1 Píosa

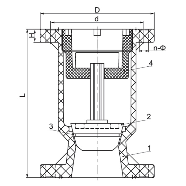
Gnéithe Struchtúrtha Táirge

1.Corrosion Friotalaíocht
An Chomhla as ábhair phlaisteacha nua, ag soláthar láidir cruthaithe i gcoinne meáin aigéadacha agus alcaileach éagsúla.
Cumas Sreabhadh 2.Large
Tá an comhla deartha le struchtúr réasúnta a laghdaíonn laghdú píblíne, rud a laghdú don mheán sreabhadh go réidh agus caillteanas brú a laghdú agus sreabhadh á chinntiú.
Feidhmiúlacht comhla 3.Check
Le struchtúr simplí agus tionchair sheachtracha íosta, cuireann sé cosc ar ais-sreabhadh den scoth.
4.Compact agus Lightweight
Tá dearadh beag agus dlúth ag an gcomhla, rud a fhágann go bhfuil sé oiriúnach le suiteáil i spásanna daingean

Liosta Ceangailte Teochta App

Ábhar Teocht mheán ℃ Ábhar Teocht mheán ℃
PVC-C -20 ℃ ~ 95 ℃ PVC-U -5 ℃ ~ 45 ℃
FRPP -20 ℃ ~ 120 ℃ PPH -20 ℃ ~ 110 ℃
PVDF 40 ℃ ~ 150 ℃

Tábla Ábhar Cuid
Níl. Ainm Ábhar Ceathair.
PVC-C PVC-U PVDF PPH FRPP
1 Corp PVC-C PVDF PPH FRPP 1
2 Croí bua PVC-C PVDF-C PVC-C 1
3 Rubar athnuachan FPM 1
4 Suíochán róin PVC-C PVC-U PVDF PPH FRPP 1

Liosta Toise

Sonraíocht d(mm) D(mm) L(mm) b(mm) n- Φ(mm)
2"(50) 121 160 185 22 4-Φ19
4"(100) 191 215 285 25 8-Φ19
5"(125) 216 245 357 31 8-Φ22
6"(150) 241 280 410 30 8-Φ23
8"(200) 299 335 400 35 8-Φ23
10"(250) 362 406 450 38 12-25

Aiseolas Teachtaireacht
Maidir Linne
Kaixin Pipeline Technologies Co., Ltd.
Bunaithe i 1999, Kaixin Pipeline Technologies Co., Ltd. Is fiontar ardteicneolaíochta é a chuimsíonn T&F, déantúsaíocht, díolachán agus seirbhís. Tá iliomad deimhnithe mór le rá ag an gcuideachta, lena n-áirítear Fiontraíocht Ardteicneolaíochta Náisiúnta, FBM Speisialaithe agus Sofaisticiúla “Little Giant”, Curadh Náisiúnta Táirge Aonair (Saothrú), FBM Cúige bunaithe ar Theicneolaíocht, Gnóthais Bheaga agus Mheánmhéide Speisialaithe agus Sofaisticiúla Ningbo, Curadh Táirge Aonair Ningbo (Saothrú), Ningbo Polymer Pipe & Valve Technology T&F Center T&D, Monarcha Bainistíochta Sonraí Fiontar Cheantair agus Leibhéal 2, Monarcha Bainistíochta Nuálaíochta Fiontraíochta Ceithre Leibhéal, Ningbo
Speisialtóireacht againn i dtáirgí neamh-mhiotalacha resistant creimeadh a fhorbairt, a tháirgeadh agus a sholáthar le haghaidh feidhmeanna ceimiceacha, lena n-áirítear comhlaí plaisteacha, píopaí, feisteas píopaí, agus caidéil resistant creimeadh. Cuimsíonn ár bpunann táirgí ábhair cosúil le PVC-C, PVC-U, PVDF, PPH, agus FRPP, le raon cuimsitheach cineálacha agus sonraíochtaí. Go háirithe, is féidir lenár comhlaí féileacán trastomhas DN1000 a bhaint amach, agus leathnaíonn píopaí agus feistis suas go dtí DN800, ag tabhairt aghaidh ar bhearnaí sa mhargadh agus ag cothabháil ár n-imeall iomaíoch sa tionscal.
Agus é á threorú ag an bprionsabal “Teicneolaíocht-tiomáinte, Ag Coinneáil Luas leis an Aimsir”, leithdháileann Kaixin beagnach RMB 10 milliún in aghaidh na bliana ar T&F. Cinnteoimid cáilíocht táirgí níos fearr trí dhéantúsaíocht chaighdeánaithe uathoibrithe agus trí fhoinsiú dian amhábhar allmhairithe. Ar aon dul lenár straitéis forbartha idirnáisiúnta, déanaimid monatóireacht leanúnach ar threochtaí an mhargaidh dhomhanda agus úsáidimid bealaí digiteacha chun táirgí ardchaighdeáin “Déanta sa tSín” a thabhairt do chustaiméirí ar fud an domhain.
Ningbo • Bunáit T&F & Táirgeadh Fenghua
Le infheistíocht iomlán de RMB 200 milliún, tá Kaixin Ultra-Pure Pipe Technology (Ningbo) Co., Ltd tar éis saotharlann ábhair nua a bhunú i gcomhar le hollscoileanna agus institiúidí taighde, bonn déantúsaíochta nua-aimseartha a thógáil, agus 8 línte táirgeachta uathoibrithe a shuiteáil le haghaidh plaistigh modhnaithe agus 8 le haghaidh ábhair pholaiméire. Tá an tsaoráid tiomnaithe do T&F, táirgeadh, agus cur i bhfeidhm plaistigh modhnaithe agus ábhar polaiméire nua. Tá Kaixin tiomanta freisin do thallann den scoth a mhealladh trasna disciplíní, ag tiomáint nuálaíocht táirgí agus forbairt branda go leanúnach, leis an sprioc a bheith ina cheannaire aitheanta domhanda i T&F agus déantúsaíocht comhlaí, píopaí agus feistis polaiméire.
Deimhniú Onóra
  • honor
  • honor
  • honor
  • honor
  • honor
  • honor
  • honor
  • honor
  • honor
Nuacht