Liosta Ceangailte Teochta App

Ábhar Teocht mheán ℃ Ábhar Teocht mheán ℃
PVC-C -20 ℃ ~ 95 ℃ PVC-U -5 ℃ ~ 45 ℃
FRPP -20 ℃ ~ 120 ℃ PPH -20 ℃ ~ 110 ℃
PVDF 40 ℃ ~ 150 ℃

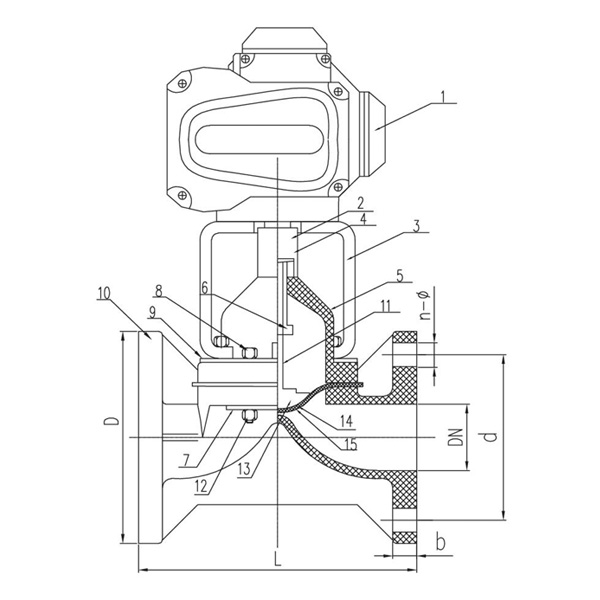
Gnéithe Struchtúrtha Táirge

1. Tá an scairt ina saothraítear rónta déanta as F46 nó PFA, le seasmhacht fillte de ≥ 120,000 uair agus tuarascáil bhliantúil inchomparáide le F4.
2. Soláthraíonn an meicníocht ardaithe scriú-cineál chasmhóiminte oscailte agus dúnta íseal agus cobhsaíocht den scoth.
3. Is féidir an actuator a rialú go cianda trí ríomhaire nó lárionad rialaithe, sreabhadh agus sreabhadh an mheáin a rialú tríd an gcomhla a oscailt agus a dhúnadh. Soláthraíonn sé seo áisiúlacht agus luas níos mó, laghdaítear costais saothair, agus cinntíonn sé sábháilteacht oibrithe ar an láthair.

Tábla Ábhar Cuid

Níl. Ainm Ábhar Ceathair.
1 Gníomhaire leictreach Cóimhiotal alúmanaim 1
2 Slat nascadh Cruachánán 2
3 Lúibín actuator Leictreach/Aeroibrithe Iarann 1
4 Bioráin nascáil Cruachánán 1
5 Bonnet PPH, PVC-C, PVC-U, PVDF, FRPP 1
6 Cnó cuing SS Cruach, Copar 1
7 Pláta Q345, SS Cruach 2
8 Scriú Cruachánán,StainlessSteel 4
9 Pláta Q345, SS Cruach 2
10 Corp PPH, PVC-C, PVC-U, PVDF, FRPP 1
11 Gás Cruachánán,StainlessSteel 1
12 caipín cnó Cruachánán,StainlessSteel 4
13 Pláta comhla PPH, PVC-C, PVC-U
FRPP, PVDF/iarann teilgthe
1
14 Flim EPDM, FPM 1
15 Diaphragm F46.PFA.PTFE 1

Liosta Toise
Sonraíocht D d L b n-Φ
15 95 65 125 14 4-Φ14
20 105 75 135 18 4-Φ14
25 115 85 145 18 4-Φ14
32 135 100 160 18 4-Φ18
40 145 110 180 20 4-Φ18
50 160 125 210 22 4-Φ18
65 180 145 250 24 4-Φ18
80 195 160 300 24 8-Φ18
100 225 180 350 28 8-Φ18
125 245 210 400 30 8-18
150 280 240 455 30 8- 23×27
200 335 295 570 40 8-Φ22
250 390 350 680 38 12-23
300 445 400 680 38 12-23
Aiseolas Teachtaireacht
Maidir Linne
Kaixin Pipeline Technologies Co., Ltd.
Bunaithe i 1999, Kaixin Pipeline Technologies Co., Ltd. Is fiontar ardteicneolaíochta é a chuimsíonn T&F, déantúsaíocht, díolachán agus seirbhís. Tá iliomad deimhnithe mór le rá ag an gcuideachta, lena n-áirítear Fiontraíocht Ardteicneolaíochta Náisiúnta, FBM Speisialaithe agus Sofaisticiúla “Little Giant”, Curadh Náisiúnta Táirge Aonair (Saothrú), FBM Cúige bunaithe ar Theicneolaíocht, Gnóthais Bheaga agus Mheánmhéide Speisialaithe agus Sofaisticiúla Ningbo, Curadh Táirge Aonair Ningbo (Saothrú), Ningbo Polymer Pipe & Valve Technology T&F Center T&D, Monarcha Bainistíochta Sonraí Fiontar Cheantair agus Leibhéal 2, Monarcha Bainistíochta Nuálaíochta Fiontraíochta Ceithre Leibhéal, Ningbo
Speisialtóireacht againn i dtáirgí neamh-mhiotalacha resistant creimeadh a fhorbairt, a tháirgeadh agus a sholáthar le haghaidh feidhmeanna ceimiceacha, lena n-áirítear comhlaí plaisteacha, píopaí, feisteas píopaí, agus caidéil resistant creimeadh. Cuimsíonn ár bpunann táirgí ábhair cosúil le PVC-C, PVC-U, PVDF, PPH, agus FRPP, le raon cuimsitheach cineálacha agus sonraíochtaí. Go háirithe, is féidir lenár comhlaí féileacán trastomhas DN1000 a bhaint amach, agus leathnaíonn píopaí agus feistis suas go dtí DN800, ag tabhairt aghaidh ar bhearnaí sa mhargadh agus ag cothabháil ár n-imeall iomaíoch sa tionscal.
Agus é á threorú ag an bprionsabal “Teicneolaíocht-tiomáinte, Ag Coinneáil Luas leis an Aimsir”, leithdháileann Kaixin beagnach RMB 10 milliún in aghaidh na bliana ar T&F. Cinnteoimid cáilíocht táirgí níos fearr trí dhéantúsaíocht chaighdeánaithe uathoibrithe agus trí fhoinsiú dian amhábhar allmhairithe. Ar aon dul lenár straitéis forbartha idirnáisiúnta, déanaimid monatóireacht leanúnach ar threochtaí an mhargaidh dhomhanda agus úsáidimid bealaí digiteacha chun táirgí ardchaighdeáin “Déanta sa tSín” a thabhairt do chustaiméirí ar fud an domhain.
Ningbo • Bunáit T&F & Táirgeadh Fenghua
Le infheistíocht iomlán de RMB 200 milliún, tá Kaixin Ultra-Pure Pipe Technology (Ningbo) Co., Ltd tar éis saotharlann ábhair nua a bhunú i gcomhar le hollscoileanna agus institiúidí taighde, bonn déantúsaíochta nua-aimseartha a thógáil, agus 8 línte táirgeachta uathoibrithe a shuiteáil le haghaidh plaistigh modhnaithe agus 8 le haghaidh ábhair pholaiméire. Tá an tsaoráid tiomnaithe do T&F, táirgeadh, agus cur i bhfeidhm plaistigh modhnaithe agus ábhar polaiméire nua. Tá Kaixin tiomanta freisin do thallann den scoth a mhealladh trasna disciplíní, ag tiomáint nuálaíocht táirgí agus forbairt branda go leanúnach, leis an sprioc a bheith ina cheannaire aitheanta domhanda i T&F agus déantúsaíocht comhlaí, píopaí agus feistis polaiméire.
Deimhniú Onóra
  • honor
  • honor
  • honor
  • honor
  • honor
  • honor
  • honor
  • honor
  • honor
Nuacht